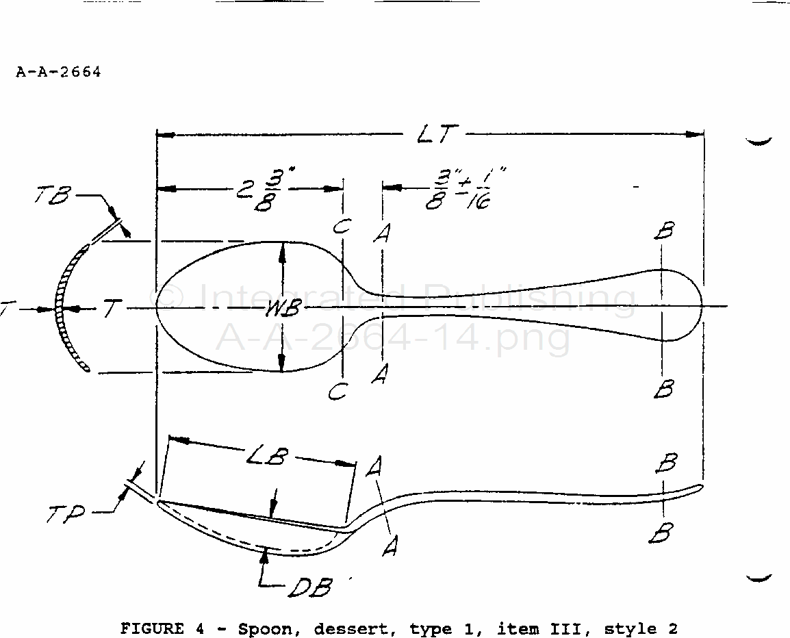
A-A-2664

TABLE IV – Type 1, Item III, style 2, spoon, dessert
|
Measurements |
Dimensions (inches) |
|
|
Minimum |
Maximum |
|
|
Overall length, LT |
7-1/16 |
7-5/16 |
|
Bowl length, LB |
2-1/4 |
2-1/2 |
|
Width of bowl at widest point, WB |
1-1/2 |
1-19/32 |
|
Depth of bowl at deepest point (inside), DB |
0.265 |
0.265 |
|
Width at AA |
0.215 |
0.265 |
|
Thickness at AA |
0.072 |
0.105 |
|
Maximum width of handle, BB |
0.740 |
0.840 |
|
Thickness at widest point of handle, BB |
0.065 |
0.105 |
|
Edge thickness at WB, TB |
0.030 |
0.065 |
|
Edge thickness at bowl point, TP |
0.027 |
0.045 |
|
Thickness of bowl bottom at WB, TT |
0.033 |
0.065 |
For Parts Inquires submit RFQ to Parts Hangar, Inc.
© Copyright 2015 Integrated Publishing, Inc.
A Service Disabled Veteran Owned Small Business