A-A-2664

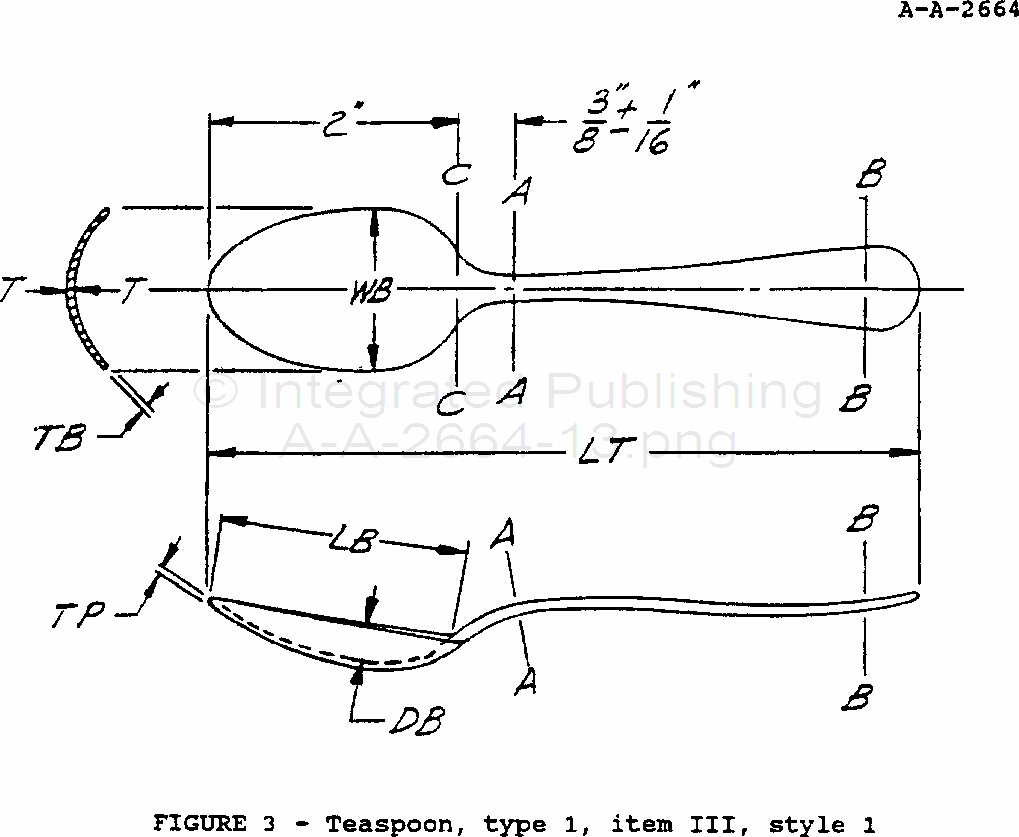
TABLE III – Type 1, item III, style 1, teaspoon
|
Measurements |
Dimensions (inches) |
|
|
Minimum |
Maximum |
|
|
Overall length, LT |
5-15/16 |
6-1/16 |
|
Bowl length, LB |
1-15/16 |
2-1/16 |
|
Width of bowl at widest point, WB |
1-7/32 |
1-5/16 |
|
Depth of bowl at deepest point (inside), DB |
0.225 |
0.275 |
|
Width of section AA |
0.190 |
0.235 |
|
Thickness at section AA |
0.070 |
0.100 |
|
Maximum width of handle |
0.685 |
0.750 |
|
Thickness at widest point of handle, BB |
0.065 |
0.085 |
|
Edge thickness at WB, TB |
0.030 |
0.050 |
|
Edge thickness at bowl point, TP |
0.025 |
0.045 |
|
Thickness of bowl bottom at WB, TT |
0.035 |
0.050 |
For Parts Inquires submit RFQ to Parts Hangar, Inc.
© Copyright 2015 Integrated Publishing, Inc.
A Service Disabled Veteran Owned Small Business