emilspec
An Integrated Publishing, Inc. Site
eMilSpec
An Integrated Publishing Website
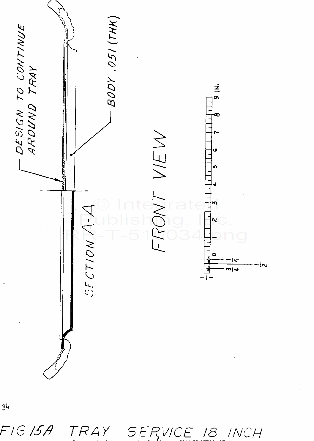
Tableware And Flatware - Silverplated (S/S By A-A-1808 And A-A-1809)
This specification covers silverplated tablewear (hollowware) and flatware of a grade equal to high-quality hotel and restaurant items.
For Parts Inquires submit RFQ to
Parts Hangar, Inc.
© Copyright 2015 Integrated Publishing, Inc.
A Service Disabled Veteran Owned Small Business