emilspec
An Integrated Publishing, Inc. Site
eMilSpec
An Integrated Publishing Website
||MILSPECNAME||
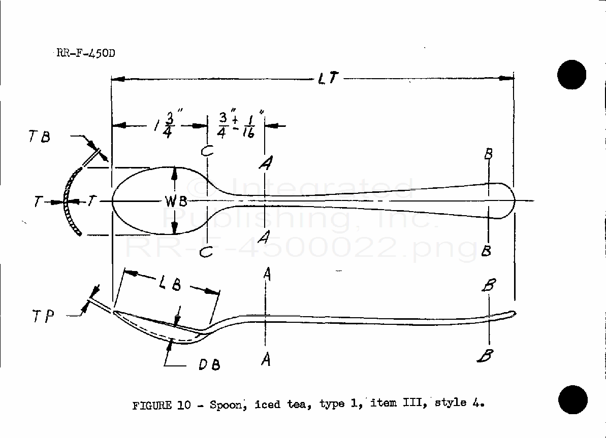
This specification covers stainless steel graded and ungraded flatware (knives, forks, and spoons).
For Parts Inquires submit RFQ to
Parts Hangar, Inc.
© Copyright 2015 Integrated Publishing, Inc.
A Service Disabled Veteran Owned Small Business